Selon un rapport du Nintendo World Report :
Nintendo pourrait faire sa première annonce en matière de Réalité Virtuelle dès cette année.
Au fil des ans, les dirigeants de Nintendo ont tenté de minimiser l’intérêt de l’entreprise pour la VR. Dans une interview accordée l’année dernière, Philippe Lavoue, directeur général de Nintendo France, a exprimé des doutes sur le fait que la réalité virtuelle puisse plaire au grand public.
Les consommateurs ne sont pas patients avec le divertissement si vous n’êtes pas en mesure d’offrir un forfait tout compris.
De nombreux indices depuis 2016
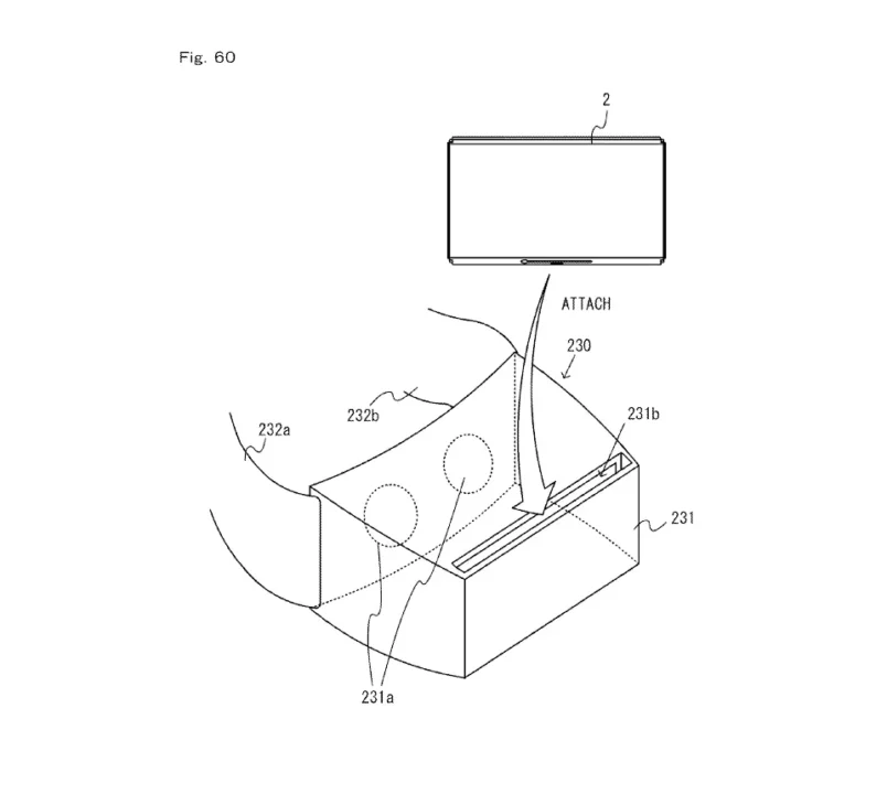
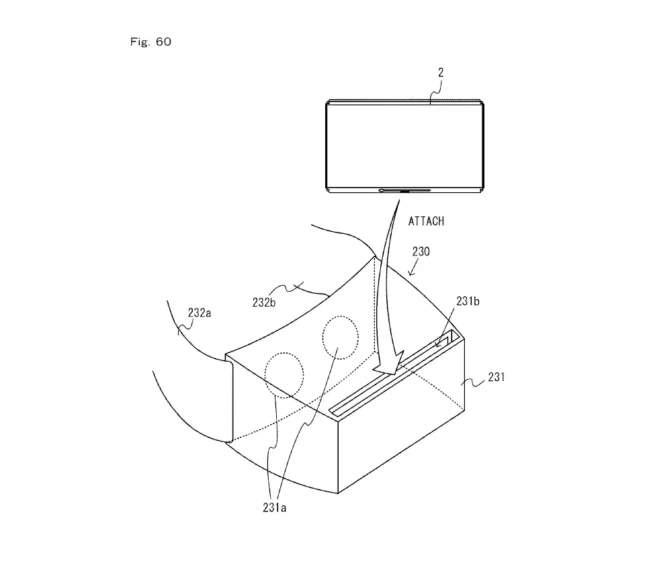
Cependant, de plus en plus de preuves suggèrent que Nintendo s’intéresse réellement à cette technologie. En juin 2016, Digitimes a rapporté que Nintendo avait reporté le lancement de Switch à mars 2017 pour améliorer la console hybride avec des capacités de Réalité Virtuelle. Au cours de la même année, il a également été révélé que Nintendo avait déposé une demande de brevet pour un présentoir sur la tête pouvant accueillir l’écran de la console Switch.
En août 2017, un printscreen dévoilant l’acronyme VR dans le code source de la Nintendo Switch mettait le feu aux poudres.
Il y a quatre mois, Reggie Fils-Aime a confirmé à Ars Technica que l’entreprise expérimentait activement la réalité virtuelle pour ses logiciels. Et dans une interview accordée à Nikkei en 2017, l’ancien président de Nintendo, Tatsumi Kimishima, a déclaré que la société avait étudié la possibilité d’ajouter la RV à la console Nintendo Switch.
En outre, Anime News Network a rapporté le mois dernier que 13 sociétés japonaises (dont Unity Technologies Japan, Dwango et Crypton Future Media) ont créé une entreprise commune appelée VRM Consortium. L’objectif de l’entreprise est de développer le commerce international de la réalité virtuelle. Nintendo participe actuellement à cette nouvelle entreprise commune en tant que simple observateur.
La firme nippone a commenté la possibilité de la réalité virtuelle dans le passé, mais n’a jamais indiqué clairement qu’une telle fonctionnalité était prévue pour Switch. Affaire à suivre.
2019, année de la réalité virtuelle
Cela fait 24 ans que le Virtual Boy est sorti, et la technologie a beaucoup évolué depuis. Il y a deux mois, IDC a publié un rapport selon lequel le marché de la RV a connu une croissance de 8,2% au cours du troisième trimestre de 2018. IDC estime que les dépenses pour les produits et services de réalité virtuelle (RV) et de réalité augmentée (RA) augmenteront de 69% cette année. SuperData Research prévoit de son côté que 2019 sera l’année où la réalité virtuelle sera réellement généralisée. SuperData annonce également une croissance de la réalité augmentée mobile au cours des prochaines années grâce à Google et Apple.
Alors certes, Big N a peut-être été absent des guerres VR de ces dernières années, derrière des géants comme Sony et Oculus, mais il y a de bonnes chances que nous puissions voir Nintendo rentrer dans la partie dans un avenir proche. Si l’on se fie au passé de la multinationale, cela pourrait bien renvoyer à la citation séculaire du génie Gunpei Yokoi :
La pensée latérale des technologies désuètes.







