La Nintendo Switch a alimenté bon nombre de rumeurs depuis son annonce (Nintendo NX) et, aujourd’hui, je vais me pencher sur celle qui a le plus interpellé les joueurs : la réalité virtuelle – enfin presque.
Cette technologie revient de plus en plus, dans l’industrie cinématographique (Justice league des studios Warner Bros), le porno (le sexe à 366° par Marc Dorcel) et, bien entendu, dans l’univers des jeux vidéos avec la PlayStation VR de Sony ou Windows Holographic.
D’où la question : Nintendo, 3ème fabriquant de consoles du marché, va-t’il se lancer sur ce marché juteux qu’est la réalité virtuelle ?
Non, pas vraiment.
Introduction
L’exposé ci-après fait le point sur une théorie lancinante, à savoir que la console Switch pourrait proposer des jeux en réalité virtuelle, dont le premier serait Super Mario Odyssey – vous comprendrez la référence au jeu du moustachu en fin d’article.
Cette théorie d’un plan secret pour la Switch n’a pas vraiment été abordée de manière sérieuse par les sites FR spécialisés, on trouve des bribes d’informations éparpillées sans réel contenu ni trame.
J’ai voulu compiler plusieurs sources d’informations différentes glanées sur des sites anglais/américains dont les références sont indiquées en bas de l’article, tout en me basant sur l’excellente vidéo de MatPat, un amateur de conspirations et de théories en tout genre.
Certains diront coïncidences, d’autres paranoïa, je vous laisse juger de la véracité des faits et vous faire votre propre opinion sur les possibilités de la Switch en terme de réalité virtuelle ou plus.
RV
Le principe de la réalité virtuelle (RV ou VR Virtual Reality) est assez simple : il s’agit d’une technologie (souvent un casque) qui immerge son possesseur dans une réalité virtuelle. Il n’est d’ailleurs pas juste question d’immersion mais aussi d’interaction : la présence physique dans la réalité virtuelle est simulée, permettant d’évoluer dans ce monde virtuel avec tout le bagage sensoriel réel (toucher, ouïe, odorat et bien entendu vue). L’environnement virtuel est généré par des logiciels qui sont aussi capables d’interpréter les mouvements et actions du possesseur du casque.
On peut donc voyager dans une dimension virtuelle en ayant l’impression d’exister dans un monde parallèle et d’interagir avec cet environnement.
Aussi, les premiers détails sur la Switch dévoilés le 20 octobre ont (re)lancé cette rumeur d’une console proposant la RV.
Manettes Joy-Con
L’une des nouveautés de la Switch repose sur ses manettes, pouvant être accrochées à la console, détachées ensemble ou utilisées séparément. Cela en fait une paire de manettes passe-partout, permettant aussi bien le solo que le jeu à deux.
Mais, derrière leur look futuriste et novateur, elles sont grandement inspirés d’autres manettes qui ont fait le succès d’une console, la Wii. Déjà à cette époque, les Wiimotes intégraient une détection du mouvement et la rétroaction haptique, faisant vibrer la manette dans la plupart des jeux.
Les Joy-Con ont gardé ces caractéristiques et, notamment, la rétroaction haptique à travers sa version plus évoluée, les vibrations HD – utilisables uniquement quand les manettes Joy-Con sont détachées.
Vibrations HD
Prenons l’exemple d’un des jeux parmi les 28 proposés par 1-2 Switch, Combien de billes (voir le passage vidéo à 1’04).
Vous avez sur l’écran une boite renfermant un nombre indéfini de boules. Vous devez, en manipulant votre Joy-Con, compter combien de boules renferme votre boite.
Sachant que tout est virtuel, ce sont les seules vibrations HD qui vous permettent de ressentir le contenu de la boite. En d’autres termes, Big N arrive, uniquement par l’intermédiaire d’un Joy-Con, à vous faire ressentir le mouvement de boules dans une boite rectangulaire virtuelle… Et le pire – ou le must – c’est que vous sentez ces billes rouler, s’entrechoquer et finir leur course au fond de la boite ; le réalisme est assez surprenant.
D’ailleurs, qui dit que le titre 1-2 Switch n’est qu’une simple compilation de petits jeux fun ? A y regarder – et tester – de plus près, cela semble plus être un terrain d’expérimentation et de développement Nintendo. Arrivant à tromper nos sens pour nous faire imaginer et ressentir des choses simplement par le biais de notre main, Big N démontre une parfaite maîtrise technique de ses manettes Joy-Con.
Quid des possibilités de la Switch ?
Modularité de la Switch
L’autre nouveauté est la modularité de la console : une console qui permet une expérience de jeu classique dans un salon sur son écran de TV tout en offrant une expérience mobile en solo ou avec d’autres utilisateurs.
Jusqu’où peut aller cette modularité ?
Visiocasque
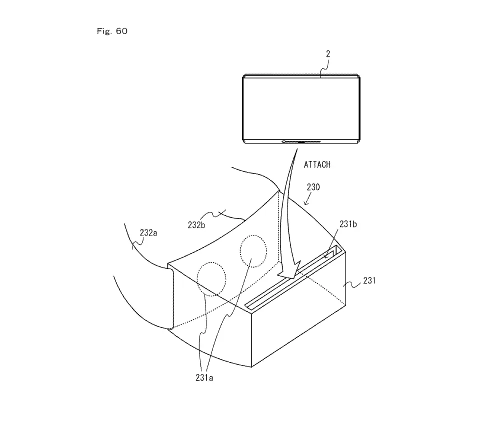
Si on en croit les brevets de la Switch*, qui détaillent bien plus qu’on ne sait actuellement, la console peut être insérée dans un casque ressemblant à s’y méprendre à deux modèles existants : le Samsung Gear et le Daydream de Google.
Ce casque adapté permettrait, de la même manière que les smartphones Samsung peuvent être inclus dans un casque Gear VR, d’incruster la console pour la transformer en outil de réalité virtuelle.
Une console portable qui se switch en casque RV.
D’autre part, la suite du brevet indique que, si la console est attachée au visiocasque, les manettes peuvent être utilisées comme commandes. De cette manière, l’utilisateur peut utiliser les Joy-Con dans ses mains tout en ayant le visiocasque installé sur la tête, où est incrusté la console.
Ainsi donc, les manettes Joy-Con ont été conçues dans un but précis : pouvoir être manipulées avec un appareil devant les yeux.
De plus, toujours dans le brevet, il est question d’un accéléromètre intégré à la console pouvant permettre de changer l’angle de vue sur l’écran. En d’autres termes, l’écran suit les mouvements de votre tête à l’instar de n’importe quel casque de RV.
Concurrence
Résumons maintenant qu’on en sait un peu plus sur la console, ses Joy-Con et que les brevets ont été mis à nu. Tout dans la Switch indique qu’elle veut non seulement dominer votre salon et votre jeu nomade mais aussi se relancer dans la RV. On se souvient de l’échec cuisant autour du Virtual Boy de 1995, sans doute le pire de toute l’histoire Nintendo.
Face à des concurrents sérieux et titanesques comme Facebook, Sony, Samsung et Google, est-ce que Nintendo va proposer à l’avenir des jeux en RV par l’intermédiaire de sa Switch ? Nintendo aurait d’ores et déjà un atout de taille face à ses adversaires, son prix ! A 300€, on est très loin des prix des casques RV chez Facebook ou Sony, entre 100 et 200€ plus chers.
Second atout, important aussi, la Switch n’est pas uniquement dédiée à la réalité virtuelle. Elle reste une console de divertissement pour s’amuser, un outil d’entertainment sensationnel pour s’éclater seul ou entre amis. En misant sur le côté ludique, la nouvelle console de Big N ne s’enferme pas dans une catégorie de jeux vidéos mais au contraire ratisse large et tout public.
Alors autant répondre tout de suite à la question, non, Nintendo ne proposera probablement pas de jeux RV sur la Switch pour plusieurs raisons.
Limites techniques de la Switch pour de la RV
La dernière console de Big N brille par ses jeux et son côté ludique mais, côté hardware*, elle fait pale figure en face des PS et Xbox One.
Pour être performante, la RV nécessite une résolution de 1080p (1920x1080p au minimum) comme c’est le cas pour les casques de RV connus ou les écrans des smartphones modernes. Or, la Switch ne propose que du 720p. La réalité virtuelle avec cette résolution donnerait des latences et des saccades d’image, rendant l’expérience utilisateur complètement faussées et totalement inconfortable.
D’autre part, la taille de son écran est trop restreinte. Dotée d’un écran LCD de 6,2 pouces, la latence est trop élevée pour permettre un affichage optimal, contrairement aux écran OLED utilisés sur ce genre de casque.
Enfin, les casques virtuels proposent deux écrans en 1080p, soit deux fois plus de pixels qu’un écran d’ordinateur et 4 fois plus que la console Switch.
Pourtant, le PDG de Nintendo avoue s’intéresser à la RV.
Déclaration Nintendo cultivant le flou
Le 7 février dernier, le magazine américain Time* interviewait Tatsumi Kimishima, le président de Nintendo, à propos de la réalité virtuelle. Sans tourner autour du pot, il s’agissait de savoir si Big N lorgnait sur la RV.
La réponse la plus simple est oui. Nous l’avons dit par le passé, et j’ai l’impression que nous le disons fréquemment, mais nous sommes intéressés (par la réalité virtuelle) et nous effectuons des recherches dans ce domaine.
La question qui se pose est évidemment : « quel est le meilleur moyen de proposer la réalité virtuelle en tant que forme de divertissement à nos consommateurs ? »
Le président de Big N confirme donc qu’ils se penchent sur la question mais, à la différence de leurs concurrents, ils soulignent ce qui est une de leurs marques de fabrique. Si RV il y a, il faut que ce soit ludique et divertissant, ce petit trait de caractère enfantin qui fait de Nintendo son identité.
Tatsumi Kimishima garde les pieds sur terre en ajoutant :
La problématique n’est pas simplement de pouvoir dire « hey regardez ! C’est réaliste ! » ou d’autres choses du genre. La vraie question est : quel est le meilleur moyen d’exploiter cette technologie afin de proposer quelque chose d’amusant à notre base de consommateur ?
Résumons, nous avons d’un côté une console Switch qui manque clairement de puissance pour de la RV et, de l’autre, le PDG Nintendo qui affirme se pencher sur le domaine de la réalité virtuelle.
Il y a comme un paradoxe quelque part, à moins que ce soit une nuance à apporter.
RA
La réalité augmentée est un peu la petite sœur de la RV, elle permet grâce à la technologie de superposer des éléments (audio, vidéo, image 2D ou 3D) sur la réalité, à travers un écran. Cette technique d’incrustation ne vous est pas inconnue, on la trouve dans bien des domaines, de la télévision au cinéma en passant par l’industrie et les applications, l’exemple le plus parlant et populaire étant les fameux filtres Snapchat.
Quand la RV permet de créer tout un univers à explorer, la réalité augmentée intègre dans l’environnement réel des éléments virtuels.
La théorie partagée par beaucoup d’amateurs est alors la suivante : Nintendo ne veut pas plancher sur la réalité virtuelle où stagnent tous ses concurrents mais dominer une autre niche délaissée, la réalité augmentée (RA ou AR pour Augmented Reality). Plutôt que de miser sur la puissance brute de la console, les performances du CPU et des équipements adéquats côté latence et résolution d’écran comme Facebook, Google et cie, Big N va miser sur une console abordable, ludique et fun qui peut réaliser de la RA facilement.
D’ailleurs, à y réfléchir, Nintendo s’essaie depuis un petit moment à la réalité augmentée. C’était l’un des arguments de vente de la fameuse 3DS qui permettait des intéractions avec des cartes spécifiques*.
Mais depuis, la firme nippone a prouvé sa maîtrise du sujet dans un jeu mobile. Oui, il s’agit de celui qui a relancé toute la machine de Big N, son premier jeu sur smartphone, à savoir Pokémon Go.
Pokémon Go
Ce nouveau jeu de Nintendo est devenu un vrai phénomène de société avant son lancement officiel, passant devant Twitter, WhatsApp, Tinder et Snapchat côté téléchargements et permettant à l’action de la société nippone un gain de 93,2% en une semaine. Armé de votre smartphone, vous capturez des Pokémon que vous croisez IRL (In Real Life, dans le réel). Grâce à la réalité augmentée, les bestioles apparaissent sur l’écran et vous pouvez dès lors interagir avec eux : les faire évoluer, les métamorphoser, mettre en couveuse des œufs, utiliser vos Pokémons pour défendre une arène…
Le buzz est complet, notamment parce que l’apps gratuite est compatible avec presque tous les mobiles. Rapidement, Pokémon Go explose 5 records du monde inscrits dans le Guiness des records : nombre de téléchargements en un mois sur mobile (130 millions), revenu généré en un mois sur un jeu mobile (206,5 millions de dollars), jeu sur mobile le plus téléchargé simultanément dans 70 pays, ayant généré le plus de revenus simultanément dans 55 pays et ayant atteint les 100 millions de dollars de revenus le plus rapidement (20 jours…).
Bref, le succès est au rendez-vous malgré une prise de risque intéressante pour un premier jeu sur plateforme mobile mais le succès retombe vite quelques semaines après le lancement, faute de fonctionnalités, de lassitudes ou tout simplement d’un côté solo un peu trop marqué.
Réalité augmentée sur Switch
Revenons à la Switch. Nintendo lance une console dotée d’un écran portatif, permettant à la fois une utilisation classique de salon et un mode nomade en extérieur. Une simple coïncidence ? Hum…
La firme de Kyoto a su se démarquer de la concurrence en gardant son âme d’enfant, proposant un panel de jeux tout public dont beaucoup sont totalement Bisounours et ont pourtant marqué l’histoire. Et si Nintendo avait dans l’idée de proposer une console ludique permettant de faire passer un bon moment en réalité augmentée ?
On a déjà abordé les limites techniques de la Switch pour la réalité virtuelle mais c’est une toute autre histoire pour la réalité augmentée. Beaucoup moins gourmande pour le processeur que la RV, la RA demande moins de puissance pour projeter des images aux alentours ; l’exemple même est la 3DS qui n’a rien d’une bête de course comme la PS4.
A ce stade cependant, il manque encore un élément. Nous avons une console portable qui peut être switchée sur un visiocasque, deux Joy-Con qui permettent d’interagir avec la réalité augmentée mais une chose est encore absente de la configuration, pourtant nécessaire : une caméra. Dans Pokémon Go, c’est la caméra du mobile qui permet de projeter sur l’écran les Pokémons en réalité augmentée. Or la console Switch n’intègre pas de caméra. A moins que.
Modularité de la Switch
La console est modulaire et flexible, permettant plusieurs utilisations possibles. Dans le cas d’un jeu utilisant la réalité augmentée, rien n’empêche Nintendo de fabriquer des Joy-Con adaptés incluant une caméra dédiée.
Hop, la RA est possible et techniquement réalisable. Mais là encore, Big N a déjà pensé à tout – bien avant nous.
Caméra intégrée déjà existante
Joy-Con, vous avez dit Joy-Con ? Bravo Mario. La manette Joy-Con droite intègre déjà une caméra complexe, située sur la tranche de la manette, dessous.
Cette caméra infrarouge est capable d’évaluer la distance entre un objet et la manette et de détecter les mouvements. Nintendo a révélé que le Joy-Con droit sait détecter (et interpréter) des signes de la main comme pierre, papier et ciseaux.
Mais cette caméra a d’autres particularités. Sur le brevet de la Switch, on peut lire que cette caméra peut projeter une image ou une couleur sur la main du joueur, détecter s’il tient quelque chose et permettre d’interagir avec l’écran – lancer une balle virtuelle vers la console.
Dans le futur, Big N a déjà annoncé qu’elle serait en mesure d’enregistrer de vraies vidéos, confirmant ainsi que la caméra est déjà capable de visualiser le monde réel.
Conclusion
Écran et visiocasque, manettes avec vibrations HD et caméra embarquée, tout porte à penser que Nintendo a créé, non seulement une console de salon nomade mais aussi et surtout une machine permettant d’utiliser parfaitement tout le potentiel de la réalité augmentée. La Switch serait une console futuriste intégrant toutes les façons possibles et imaginables de jouer, solo ou à plusieurs, à la maison ou à l’extérieur, sur un écran ou en réalité augmentée.
La grande force de cette console est qu’elle multiplie les possibilités offertes aux joueurs quand les autres se focalisent sur un seul angle d’attaque. Rajoutez à cela son prix ultra compétitif, ses jeux grand public, son lancement aux allures de record et vous avez une console ultime, capable de tous les attraper.
D’ailleurs, à bien regarder ce trailer pour Super Mario Odyssey, vous ne remarquez rien ?
A la fin de la vidéo (2’31), Mario sent quelque chose remuer dans sa casquette. Une paire d’yeux apparaît alors sur la visière du plombier, entraînant le sourire du héros moustachu puis l’apparition des yeux sur le logo Super Mario Odyssey.
Clin d’œil aux théories sur la RV/RA ou easter egg délibéré pour annoncer que ce nouvel épisode des aventures de Mario sera disponible en réalité augmentée ? Réponse cet hiver – et si vous tenez à l’avoir dans les premiers, précommandez.
Références
Voici la liste des sources utilisées :
- Caractéristiques techniques de la Switch ↑
- 19 Things Nintendo’s President Told Us About Switch and More ↑
- Cartes RA pour 3DS ↑
- Forum Neogaf
- Brevet Switch ↑
- Nintendo Switch VR par Antoine Beynel
- Game Theory: Nintendo’s SECRET PLAN for the SWITCH!


















