Nintendo a peut-être abandonné le vrai jeu en 3D avec la 2DS et la Nintendo Switch mais il semble que Big N n’en ait pas fini avec cette technologie. Une demande de brevet ce mois-ci Nintendo a l’intention de faire de votre téléviseur l’écran de jeu 3D par excellence.
Eye Tracking Enabled 3D Viewing
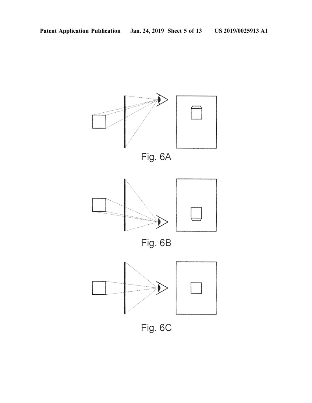
Publiée par le United States Patent and Trademark Office le 24 janvier, une demande de brevet pour « Eye Tracking Enabled 3D Viewing » a été déposée par Nintendo en septembre 2018 afin de fournir un appareil capable de voir où les utilisateurs portent leur regard afin d’obtenir l’angle de vision 3D optimal.
La demande, qui fait suite à d’autres demandes de brevets datant d’aussi loin que 2010, détaille les problèmes de visionnage habituels en 3D rencontrés sur les téléviseurs. Au lieu d’utiliser un écran ou des lunettes 3D spécifiques, l’approche de Nintendo est encore une fois novatrice. Il s’agit de placer un dispositif de suivi oculaire sur un écran standard, ce qui permettra à la firme nippone de suivre les utilisateurs et de leur proposer la meilleure image 3D.
La détection du mouvement du point de vue peut fournir des avantages de logique de jeu liés aux collisions, comme permettre à un joueur d’esquiver des projectiles, donner à un personnage de jeu la possibilité de « voir » le joueur lorsqu’il n’est pas derrière des obstacles en visibilité directe et d’autres possibilités.
Afin d’améliorer les capacités de suivi de la caméra, les utilisateurs peuvent porter un marqueur sur leur tête. Dans les croquis montrés dans le brevet, un petit marqueur est placé sur les lunettes du joueur, bien qu’il semble assez petit pour ne pas gêner la jouabilité.
Un suivi du regard et de la position
Ces avantages sont déjà visibles sur la console Nintendo 3DS car elle permet un gameplay 3D sans lunettes dédiées. Super Mario 3D Land, par exemple, rend les sauts assez faciles car il fournit une profondeur inédite sur d’autres systèmes, et c’est une caractéristique qui manque cruellement dans les jeux Wii U et Nintendo Switch. Sur les nouveaux modèles 3DS, le système suit même votre position à l’aide de sa propre caméra, maximisant ainsi le « sweet spot » de son propre écran 3D.
Comme c’est le cas pour de nombreuses demandes de brevet, il est fort probable que la technologie 3D de Nintendo ne produise rien et que les images présentées dans la demande ne soient pas nouvelles. Cependant, la 3DS arrivant en fin de vie, il est peut-être temps pour la multinationale japonaise d’envisager sérieusement de nouveaux horizons avec la caméra de localisation.
Vos avis sur la question ?





